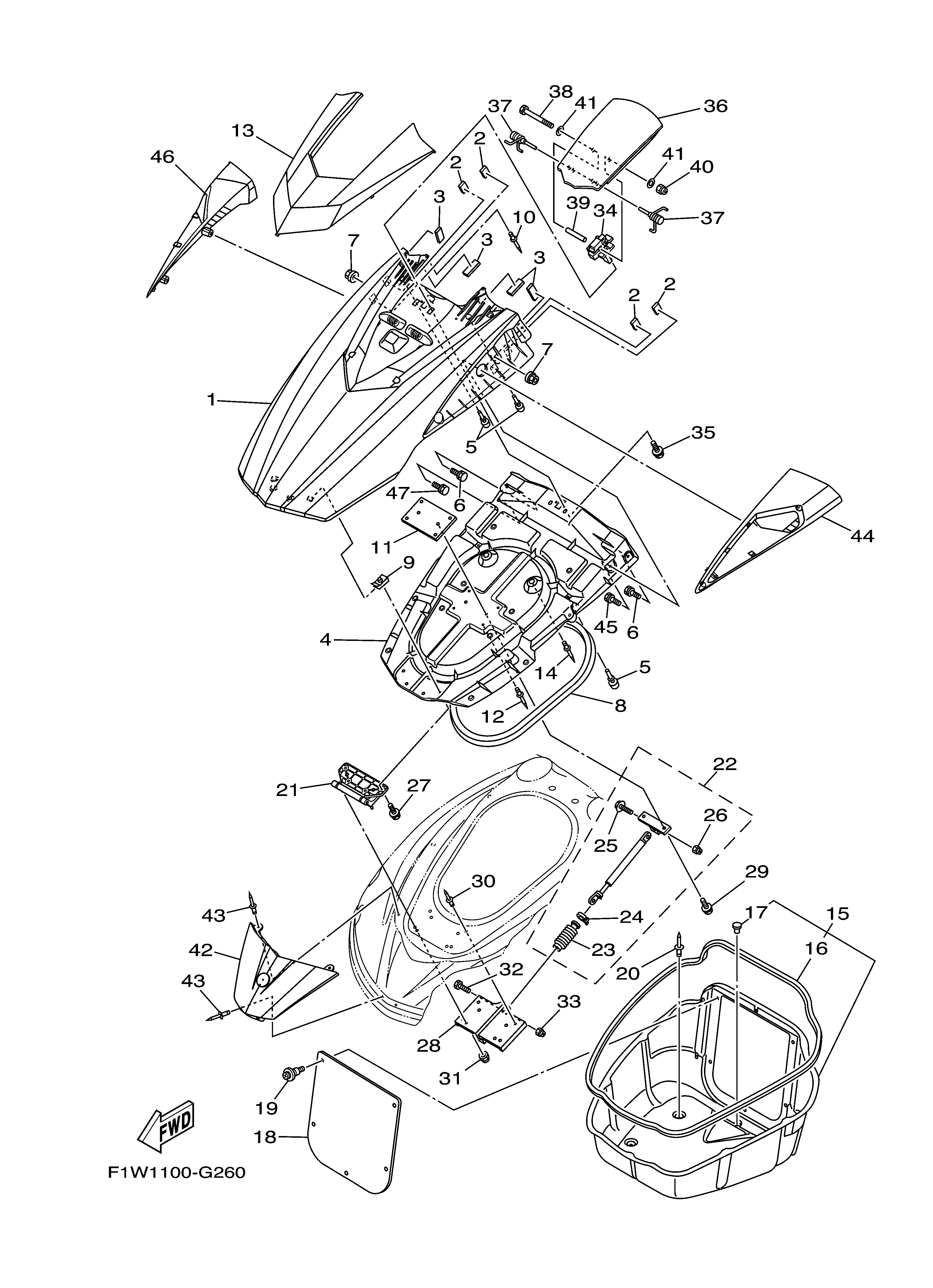
Description
| REF # | PART NUMBER | ITEM NAME | QTY |
|---|---|---|---|
| 1 | F1W-U517B-60-P1 | LID, ENGINE ROOM (DARK PURPLISH BLUE METALLIC 11) | 1 |
| 1 | F1W-U517B-60-P5 | LID, ENGINE ROOM (GRAY METALLIC H) | 1 |
| 2 | F1W-U5136-00-00 | STOPPER, HATCH 2 | 4 |
| 3 | F1K-U266B-00-00 | . PACKING 3 | 3 |
| 4 | F1W-U213B-01-00 | COVER,VENTILATOR 1 | 1 |
| 5 | F1W-U3768-01-00 | . CUSHION, RUBBER | 2 |
| 6 | 90119-06880-00 | BOLT, WITH WASHER | 2 |
| 7 | F2N-U142L-00-00 | NUT, LOCK | 2 |
| 8 | F1K-U2663-01-00 | PACKING 1 | 1 |
| 9 | 90183-06902-00 | NUT, SPRING | 1 |
| 10 | 90267-48807-00 | RIVET, BLIND | 1 |
| 11 | F1W-U5148-00-00 | PLATE, HATCH | 1 |
| 12 | 90267-48807-00 | RIVET, BLIND | 1 |
| 13 | F1W-U515N-20-P0 | VISOR (BLACK METALLIC G) | 1 |
| 13 | F1W-U515N-20-P1 | VISOR | 1 |
| 14 | 90267-48807-00 | RIVET, BLIND | 1 |
| 15 | F1W-U475B-04-00 | LOCKER,BOW | 1 |
| 16 | F1W-U266C-00-00 | . PACKING 4 | 1 |
| 17 | 90605-502U1-00 | . PLUG, BLIND | 1 |
| 18 | F1W-U475F-01-00 | PLATE, LOKER BOW | 1 |
| 19 | 90269-08801-00 | RIVET | 1 |
| 20 | F3J-U516R-00-00 | RIVET, 1 | 1 |
| 21 | F1W-U517D-01-00 | HINGE, LID | 1 |
| 22 | F2C-6514S-00-00 | DAMPER ASSY | 1 |
| 23 | F1W-6514T-00-00 | . COVER, DAMPER | 1 |
| 24 | 1UA-82591-00-00 | . BAND | 1 |
| 25 | 90109-06218-00 | . BOLT | 1 |
| 26 | 95720-06300-00 | . NUT, SELF-LOCKING | 1 |
| 27 | 90119-06896-00 | BOLT, WITH WASHER | 1 |
| 28 | F1W-U518E-02-00 | PLATE, HINGE LID | 1 |
| 29 | 90119-06830-00 | BOLT, WITH WASHER | 1 |
| 30 | 90267-48020-00 | RIVET, BLIND | 1 |
| 31 | 9572R-06300-00 | NUT, NYLON | 1 |
| 32 | 90109-06218-00 | BOLT | 1 |
| 33 | 9572R-06300-00 | NUT, NYLON | 1 |
| 34 | F1W-6517C-02-00 | LOCK, LID | 1 |
| 35 | 90119-05912-00 | BOLT, WITH WASHER (EW3) | 1 |
| 36 | F1W-U515P-01-00 | VISOR, 2 | 1 |
| 36 | F1W-U515P-30-00 | VISOR, 2 | 1 |
| 37 | F1W-6517R-00-00 | PIN, HINGE | 2 |
| 38 | F1W-U515H-00-00 | SHAFT A | 1 |
| 39 | F1W-U2693-00-00 | PIPE | 1 |
| 40 | 9572R-05300-00 | NUT, FLANGE | 1 |
| 41 | 9299R-05200-00 | WASHER | 2 |
| 42 | F1W-U513M-60-P1 | COVER, FRONT (DARK PURPLISH BLUE METALLIC 11) | 1 |
| 42 | F1W-U513M-60-P5 | COVER, FRONT (GRAY METALLIC H) | 1 |
| 43 | 90267-489U6-00 | RIVET, BLIND | 2 |
| 44 | F1W-U590D-91-00 | MIRROR ASSY. 1 | 1 |
| 44 | F1W-U590D-B1-00 | MIRROR ASSY. 1 | 1 |
| 45 | 90119-08907-00 | BOLT WITH WASHER (EU0) | 1 |
| 46 | F1W-U590E-91-00 | MIRROR ASSY. 2 | 1 |
| 46 | F1W-U590E-B1-00 | MIRROR ASSY. 2 | 1 |
| 47 | 90119-08907-00 | BOLT WITH WASHER (EU0) | 1 |
![JETSTAR [Jetskiparts from Japan]](http://jet-star.jp/cdn/shop/files/3bb42e6e1b42b75c3008408f45f5a2ae_120x@2x.png?v=1629900164)
